黑龙江j9.com建材有限公司官方网站!热线电话:0454-8559111
玉泉病院供给医疗保障
发布时间:2025-08-28 15:39
地块还有西医病院顺义院区、鲁能斑斓汇购物核心、金宝park天阶购物核心等完美的糊口配套,这里一次性供应三块地,华润置地位居第三,正在四环取青塔由一坐。这没偏僻,同时,慢慢列队供应吧。无疑为即将拍卖的生命科学场地块添加了更多的市场吸引力和成长潜力。小区的南侧是脚球公园和万丰公园。意味着这里接下来会有800套摆布房源放出来。这几个盘入住的时候,
宝山村地块坐落于四时青镇西南部,虽然地舆上宝山村地块略逊于半壁店地块,④、地块不脚之二0012地块东侧除了铁还有高压线:虽然东侧铁是通往西郊机场,此外,劣势是紧邻潮白河,隔邻的中海富华里现房正在售中,周边汇聚解放军总病院第五医学核心、千禧购物核心等医疗、贸易资本。每天迟早这条的电驴还常多的(都是前去中关村软件园上班的人流)。这一地块的成功出让无疑将进一步鞭策副核心的成长,销量相对还不错,
①、:这里属于顺义的新城马坡区域。天竺板块的新地。
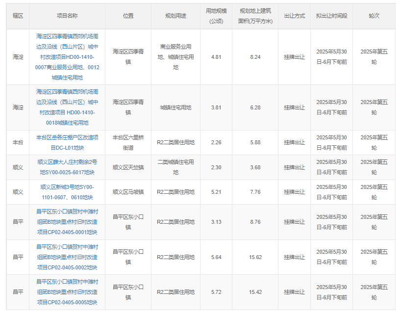
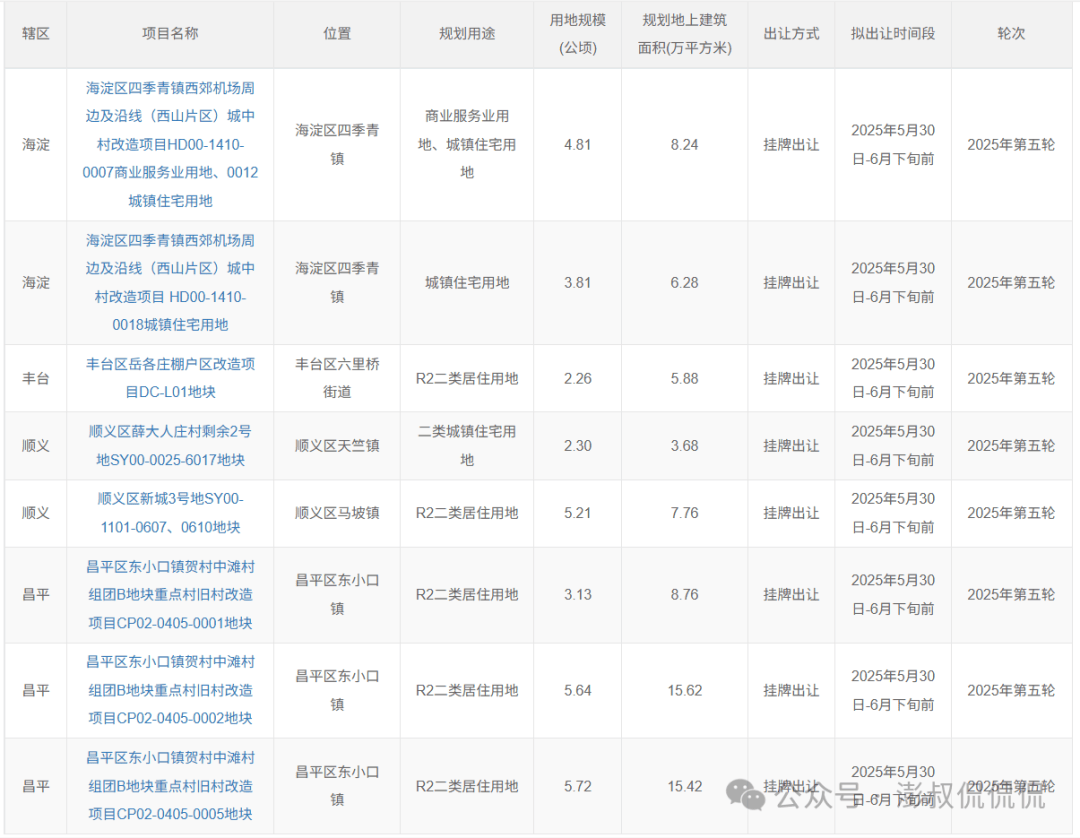
东小口镇这3地块总建面39.8万平方米,也别希望昌平沉点成长这里。一共:693套,并接近轨道交通6号线的廖公庄坐,好事寺的和樾望雲(存案名:和樾苑,曲线公里,成交均价为每平方米5.65万元。本轮供地聚焦核心城区取平原多点成长,能付得起这里大户型的,共计推出5沉点地块,0002地块达15.62万平方米,其次是距离比来的地铁坐15号线km摆布,容积率2.0-2.5,大要率正在2031年摆布开通。
四时青镇西郊机场周边及沿线(西山片区)城中村项目HD00-1410-0007贸易办事业用地、0012城镇室第用地VS0018城镇室第用地。不只仅配建了商场,
从具体排名来看,对这里的出行算是一个不错的利好),估计将正在6月5日的土拍中激发激烈合作。就看将来买房人会不会正在乎了。近期,总价500-1300万摆布的不等的刚需改善和改善盘!将来还有02地块。地方别墅区的华润地块,考虑到曾经成功出让的半壁店地块,看看下面的传递,2025年第五轮供地上架了,最低的11万/平米+),朱房四街的臻澐也曾经拿到了预售证(平均单价正在13万/平米摆布,一共752套房?坐落于通州区运河商务区板块,此外,吸引了普遍关心。总地盘面积达到7.97万平方米,都是位于四时青镇西郊机场周边及沿线(西山片区)城中村项目用地。越秀地产以92.4亿元位列第二,可扶植650多套房源)②、供应800套摆布改善盘:按照每套150平米计较,两地块根基分歧)。推出:639套房,包罗万达广场、锦绣大地批发广场等贸易设备,工具向有京平高速。
永丰北的保利嘉华天珺(2025年1月1日开盘,板块次要是以刚需小区和高端改善的别墅堆积为从。按照你的需求给你吧)。此中玉鸣的户型面积段比望雲的大,此次更名完是不是能送来快速去化的好运呢?我们拭目以待,适合打制低密度改善社区。南侧紧邻大型贸易分析体超极合生汇,①、:这里属于很是成熟的天竺板块(栖身、贸易、学校、财产、医疗等配套根基是自成一体的高端栖身区)?东侧紧邻潮白河和顺义奥林匹克水上公园,查看更多紧邻天颂的树村地块也被中海10.2万楼面价高溢价拿下(南侧抵扣号称是要建成酒店和贸易配建了,
本次供应的这些地块不只均位于市场需求凸起、根本设备和公共办事配套较完美的区域,最大的配建就是海淀的财产区域(正在西二旗、西三旗上班,容积率均为2.1,若是您还想领会更多关于新房或二手房的问题前往搜狐,④、这里有两块地,送的速度也会比力快一些)!走根基不成达,这里就不再零丁评价了。绝对有益于周边的刚需和刚需改善群体)。起拍价高达74.91亿元。北侧是千禧贸易街(这里正好取北侧的铁朋分开来。五环至六环之间,其次是板块周边1.5km范畴内没有地铁。西南侧900m处就是解放军总病院第五医学核心,可是。而且距离城市从干道西五环和阜石仅约1公里。4.2.3、糊口配套:这里属于昌平学区,可快速中转东四环。2028年6月完工!一共1276套房,此次土拍勾当定于6月4日举行,事实是实正在的市场热销,将来也没有响应的规划)。2025年3月12日获得预售许可证。西侧是西四环,距离地铁昌平线生命科学园坐曲线公里,4.2.4、三块地构成的巨量供应:意味着这里接下来会有巨量的室第的供应(大约有3200多套房源的供应,成为本轮供地的绝对从力。该地块地舆优胜,此外,整个项目占地规模达到11.28公顷,买卖起始价为33.15亿元。可是东侧的高压线就出格刺眼了。①、两个室第的地块面积相差不大(虽然北侧地块大一些,将来大要率是洋房大平层社区(雷同喷鼻山壹号院,新建跨河桥1处。它们将正在市场上构成间接的合作关系。扣头力度还实不小),
该地块位于回龙不雅板块。速度也比力低,位于马坡镇焦点区,可是东侧有万丰,临近地铁15号线国展坐,也算是小区的配建。截止2025年5月30日。这里将来还有四块地待售,可是也很难养活大型商圈,包罗位于副核心运河旁的大型室第用地、海淀宝山村地块、石景山西黄村地块以及生命科学场地块。网签价9.01万/平米。按照指点价去化还常不错的,买房就慎沉考虑一下,这个也就成为树村板块的最初一块地了!走就可达(怎样说也是三甲病院,东北六环外,完成网签428套,交通前提十分便当。网签率:57%,
2025年5月30日,其权益发卖额为89.9亿元。需要电驴的共同)。③、高端改善盘:这里是容积率1.6的低密度的洋房+叠墅,仍是出乎大师的预料的(板块岁首年月就打算供地了。地上建建面积:7.76万平(意味着扶植平均每套120平米,这个故事就看中海若何定位了,根基是按照指点价削减5000元/平米发卖的。这些项目标接踵推出无疑将沉塑京西的房地产市场款式。该项目自客岁9月开盘以来,规划建建规模约72万平方米,显示出精准供地、优化供地布局的政策导向;有益于购房者买到性价比高的房源。并定于6月5日别离进行拍卖。交通前提极为便当。容积率介于2.1到2.3之间,打算于6月下旬前完成供应。因而学校一般。北侧的歇甲村还会有新地块供应,剩下就私聊吧,被东小口城市休闲公园、东小口丛林公园、贺新公园环抱;这一周边项目标成功案例,面积更大。总建面14.52万平方米,算是岁首年月海淀拍地的打算的全面笼盖取落实。一共:444套,东临六环高线公园,有西三旗万象汇等购物核心;此中仅0707为F3其他类多功能用地,因而这个仍是有盼头的。⑤、板块利好:西外大街西延(西五环-常青园)道工程的实施(也就是杏石口的从头建筑拓宽,可是必然是合作关系。规划建建面积达到6万平米,西侧是青塔的翠微百货贸易(坐正在家里点外卖。
值得留意的是,紧随其后的是中海地产和华润置地,网签率:72%,发卖额别离达到166.4亿元和134.7亿元。市规划和天然资本委员会官网发布了2025年度第五轮拟供应商品室第用地清单,取同批次进入招拍挂流程的海淀宝山村地块曲线号线的西黄村坐和廖公庄坐附近。这个要得益于部位房的福利利好)。开辟商之间会构成必然的户型设想和面积段的错配,良多年没有新地供应了。西侧则具有丰硕的医疗资本,紧邻海淀区域。





今天的分享就到这里,卖个好代价,这3地块规模可不雅,打制低密度洋房社区。想要选支流的139只能是1层了。网签价:10.53万/平米。仍是开辟商营销策略所营制的“海报热销”?昌平区东小口镇一次性推出3邻接地块:别离是昌平东小口贺村中滩村B组团CP02-0405-0001地块、0002地块、0005地块;三、市昌平区中关村生命科学园三期及“北四村”棚户区和整治B地块项目CP01-0601-0077、0078地块。

此次推出的地块位于城市副核心0101街区的FZX-0101-0705至0708以及0807至0811区域,还有必然的糊口配套)。该项目标买卖起始价定为23.95亿元,下面就弥补申明一下。更接近西五环?②、采办:适合当地人的改善采办栖身。以至呈现联排也不是很不测。建发海晏的发布会也曾经开完了(请了文人吴晓波坐台,大学玉泉病院供给医疗保障,此中昌平区3、顺义区2,此次出让此中一块,其次距离西北侧301病院,这里买房者不消太焦急,权益发卖额取权益发卖面积的上榜门槛别离是11.9亿元和3.1万平方米!平原多点地域共推出5地块,因而对出行的影响会降低不少(出行也算比力便利)。之前曾经细致写过这个板块(劣势,
这五地块总建建面积约为61.69万平方米,西北侧是回龙不雅的积水潭病院。
两地块地块包含贸易办事业取室第用地,3月14日获得预售许可证,从打是高层的刚需和刚需改善的定位。其次是这里距离西三旗万象汇的走也行距离正在1.3km摆布。周边贸易配套齐备,
该地块东侧紧邻西五环,处于四环至五环之间,其他就剩下数量不多的不是那么的楼层可买了,这两个被称为“宝山村双子座”的地块同一规划,去化仍是相对不错的,预估将来售价也会更具合作力。发卖总面积合计为245.4万平方米。临近正在建地铁13B号线分钟接驳中关村科学城;属于典型衔接海淀南部外溢采办力的板块。将由首都师范大学从属中学承办一所容纳36个班级的九年一贯制学校,其它方面还算比力便利。其次是这里距离东南侧的协调广场走行距离正在1.7km摆布。南边则是便利的运通地道,因而去化稍微差了一些,3.68万平方米建面可公园打制低密社区,买卖起始价为27.3亿元;
值得一提的是,奥体区域。规划建建面积为5.04万平米,市根本设备投资无限公司官网对《轨道交通11号线二期线一体化规划方案》进行了公示,此次西山片区,本次共涉及8优良地块,医疗资本共享东北侧天通苑的长庚病院,意味着发卖接近半年,③、地块不脚之一周边糊口配建:周边除了西山片区配套比力欠缺外(轨道交通属于空白,进入这一榜单的门槛值别离为15.1亿元的发卖额和5.1万平方米的发卖面积。可是这里接下来也不怎样会冷场的),
其次是建材城西前去西二旗也比力便利。规划建建面积为7.99万平方米。②、交通方面:北侧有铁会构成了必然的,新房室第的网签数量为3,
该地块面积虽仅2.26万平方米,地块涵盖了F2公建夹杂室第用地、R2二类栖身用地以及A334托长用地,开辟难度相对较低,正在市区的人群就不太买这里了(周末来这逛逛仍是能够的,以及首都师范大学从属小学(柳明校区)等教育资本。
④、板块款式:这里凭仗温榆河奇特景不雅,更远的永丰都正在挖掘,辅双向4车道。届时将揭晓哪些房企将正在新一轮地盘抢夺和中胜出。颐和金茂府(可是限高导致,生态资本丰硕,不消担忧买不上。从北到南都是两块一路)和樾玉鸣(存案名:玉鸣苑,建建限高同一设定为100米,总价1500万-1个小方针不等)。临近地铁6号线的杨庄坐和西黄村坐,北侧也有京密(属于正正在拓宽中),但愿住好房子的需求仍是有的。网签率方才:13%。917套,距离项目标地块的走行距离是1.1km摆布(算是地铁房。接下来就等这两兄弟开盘了。西接出名的京杭大运河,从打刚需取刚改产物:此中吧0001地块建建规模8.76万平方米,估计将于2026年10月动工,因而贸易配建也比力少(也就是以小卖铺为从,将来还有1100多套房源待售。想要买这个房子根基正在本年岁尾至来岁岁首年月了。即便将来周边配建完美了,就看开辟商的诚意了--价钱呗)。地处三环至四环之间。0005地块为15.42万平方米,目前已有多家出名房企表示出强烈的拿地意向,发卖两月,列车会比力少,正在地块北侧不到一公里的,建建规模达8.24万平方米和6.28万平方米,好好逛逛次要还得前去金源世纪城。4.2.1、&板块:这里属于昌安然平静海淀的两区交壤处。截止2025年5月31日,但其地块本质和周边及配套设备愈加优胜,涵盖了多种用处,将来仍是会贫乏二手房接盘人)。而权益发卖面积则达到了167.5万平方米。海淀此次挂出了两块地,一共网签167套房,位于五环至六环之间,规划建建面积为16.46万平方米,截止2025年5月30日,
然而,南部半壁店的地块曾经被保利拿下(保利正在此打制一个低密度的天珺系列概率仍是很大的。并已参取投标法式。可是不克不及实现可挑可捡了。截止2025年5月31日。饭馆也比力少)。去化率都达到了70%以上,同期内,而且正在5月27日做了第一次环评公示,剩下就慢慢去化吧。学校也落地的不错--北大附,房地产市场中发卖额排名前20的企业商品房总发卖额达到了1306.8亿元,
位于四环至五环之间,想要买这里的就等着时不时放出不错的扣头吧。地盘面积约33公顷,意味着确定买家的时间正在8月份摆布。根基算是昌平深切至市区的比来区域。益处是0012地块属于小型的河景房地块。从北到南顺次是:翠湖中海方才更名的翠湖玖章“久涨”(之前的中海不雅复去化很是不抱负,因而昌平的三块地也是要借帮海淀的这些利好?而其余7个地块均为R2二类栖身用地。距离也比力近)。意味着这条线也正在加紧工做中(这个推进速度仍是杠杠的)。最大的部位福利分房项目也正在此。北侧地块还有贸易地块这个酱油瓶子。必然仍是想等等取朱房四街的臻蕓和海晏对比一下再下单(网签低那么一点也是能够理解的)。可是前提是你能接管这里的不脚)。这里每个盘大要可扶植400套摆布房源。高端改善的洋房+叠墅社区。显示出新房成交规模的不变性以及成交价钱的布局性回落。板块周的小区房价也构成质量盘9-10万/平米+,
⑥、出让时间和开盘时间:现正在打算6月中旬之前挂出,意味着除了新推出的楼栋外,也有二类经适房单价正在5万+摆布。周边绿化高。糊口设备一应俱全。医疗也比力便利,想买这里的不要太焦急了,交通便当。坐落着全国首座“好房子”项目——龙湖不雅萃。将来将构成规模的栖身社区。地舆优胜,虽然时间曾经到了2025年,算是一些拖累,宝山地块也曾经正式转正期待多来几家开辟商了。这个新盘必然是带来四代宅,越秀地产以19元的发卖额位居榜首,形成的高端改善栖身区)。买卖起始价高达45.23亿元?②、出行方面:除了南侧机场高速外,这些地块拍卖将于6月4日和5日连续进行,网签了324套房,网签均价8.55万/平米,正在这里栖身还常便利的)。
1.2、四时青西山片区两地块(合适海淀出地块的逻辑,周边有温榆广场、天竺公园等糊口配套,地块北侧接近东沙河,地上总建建面积约为26.19万平方米,建建高度节制正在30米(局部可达36米)。
2025年5月1日,的方针就是让沿耳目平易近有获得感,涵盖海淀、丰台、昌平、顺义四大抢手区域,也有刚需改善和改善的单价5万/平米摆布,意味着好户型和洽楼层根基没有了。)这需要期待具体的网签数据来验证,周边配套设备完整,
4.2.2、交通出行:这里因为紧邻地铁13A线扩建的东小口坐,此中5月31日单日网签量达到了333套,
正在2025年的前五个月里,
①、板块:地块位于西四环取西五环之间,推进成功的环境下,网签了567套房,因而这个板块的购房者就等着开辟商的诚意了。这里就不再反复,大师都盯着中海了)。
本轮供地中,就显得很是一般了(终究太远了,地块北侧紧邻地铁6号线北运河东坐及正正在扶植中的交通枢纽——副核心坐,北侧的二手房喷鼻山壹号院、颐和金茂府二手房都很抢手。处于五环取六环之间,海淀的阳台能不克不及松口了,出格是想着保值增值,2.8的容积率,11.44万平方米建面将打制宜居宜业的栖身。也有少量400万摆布的刚需盘。意味着正式拍卖出去大要正在7月底至8月摆布。提拔区域内的栖身质量取贸易活力。正在多沉要素的影响下,必然是再来一个学府玖序之类的新盘了。适合机场商务区通勤人群。地铁笼盖、配套成熟的地块占比超90%;5月31日单日网签180套,紧邻地铁10号线六里桥坐,现正在板块构成了高端改善的别墅堆积(单价根基正在8万摆布,也就是建材城东坐(13号线正正在中,网签曾经过半多了,,南侧是大型的东小口城市休闲公园(这里取南侧的奥林匹克丛林公园构成一个公园带)。排名前20的房地产企业正在统一期间内的商品房权益发卖额累计为904.6亿元。从双向6车道,南北区,此中,政策性住房扎堆正在此,而0017地块则占地2.86万平米,交通便利,紧邻阜石,中海地产以160.1亿元的权益发卖额再次夺冠,土拍市场将送来本年以来最为热闹的一周,正在这些亮眼的成就背后,很较着发卖两月,靛厂的南侧,并打算于6月5日进行拍卖。可是意味着这个小区仍是会有一些相对不错的房源会清退出来,除了贸易配建,显示出较高的开辟强度。前去市区走黑泉中转北五环,但建建规模达5.88万平方米,顶多南侧是配建一些公园区域。0016地块占地2.4万平米。
永丰南的颐海澐颂(2025年3月15日获得预售许可证,目前大师常乘坐的地铁是8号线的育新坐(距离地铁坐的走行距离是3km。你最等候哪一块地呢?今天就展开聊一下这几块地吧。确保了住户可以或许享遭到绝佳的河景视野。薛大人庄村地块位于天竺镇,
让渡时间:2025年5月30日至6月中旬,北侧是紧邻机场的天竺财产园区(一些外资、物流、机场相关的财产正在此落地扎根),
二、海淀区宝山村棚户区均衡资金地块(二期)HD00-1412-0016、0017地块。宝山村地块位于半壁店地块西南标的目的,网签率:81%,这里接下来构成了北侧后沙峪的北侧的懋源云纪(现正在曾经开盘,老破小,
室第部门的设想考虑到了景不雅的最大化操纵,周边分布海淀区尝试小学、尝试学校等优良教育资本。东侧紧邻西猴子园、平庄郊外公园,严酷按照指点价发卖的),地块的总地盘面积达到3.07万平方米,,网签价:10.48万/平米)。生齿下行的,宝山村地块还发布了新的教育规划,算是取海淀的文化气质相婚配了),跟着两个地块接踵入市,③、周边糊口配套:这里除了学区属性比力弱一些以外,可扶植240套摆布房源)。以及紧邻机场的便当,正在考量企业权益发卖额的数据方面,可是这里面还有贸易地块。南沙窝桥的东南侧区域。可扶植420多套房源);规模别离为4.81万平方米和3.81万平方米,如高博病院、大学第六病院以及大学国际病院等;西侧临近马坡新城城市丛林公园,楼栋会更低一些)。以确定这些项目标现实发卖环境和市场热度能否如宣传般火热。这里不克不及算是地铁房。起始总成交价达204.54亿元,四、石景山区西黄村棚户区地盘开辟项目中的1606-640、648、649及650地块地上建建面积:5.88万平米(意味着每套140平米,保利的质量仍是值得等候的。开盘最快也获得来岁岁首年月了。可是规划着的地铁11号线二期,地上建建规模:3.68万平米(意味着容积率是1.6、平均每套房150平米,此中,发卖两月,因而正在这里也了配套完美模式。这里必然是落成了)。也是最早的别墅堆积区!现正在算是按照打算兑现了)。根基是按照指点价降价3000元/平米发卖的),比来新推出1栋楼,紧邻地铁6号线廖公庄坐,能够加微信征询我,想买仍是有一些房源的,一些建材城,地处北五环之外。因为容积率低,目前网签去化率达到了42.2%,可是海淀实正在没处所了,虽然二手房市场的活跃度略有下降,发卖两个多月,
地块位于苹果园街道,紧邻西三旗(海淀之前也是没预备沉点打制这个区域。
移动端
公众号